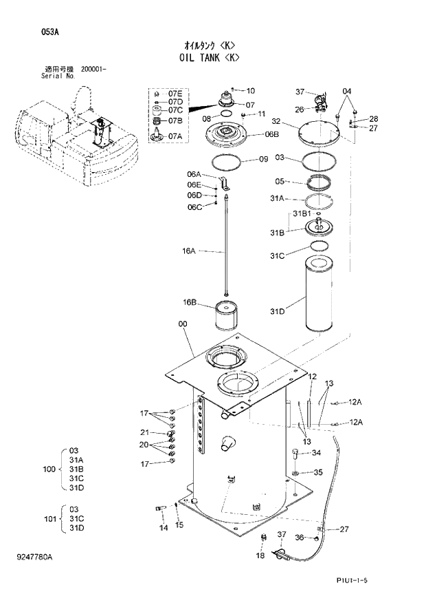
Запчасти Hitachi ZX210LCK-3 053 OIL TANK K. 01 UPPERSTRUCTURE

Схема запчастей Hitachi ZX210LCK-3 - 053 OIL TANK K. 01 UPPERSTRUCTURE
FIT
1:1
100%

Артикул

Название

Примечание

Количество

0

5009861

TANK;OIL

1шт.

3

K

O-RING

1шт.

4

D

BOLT;SEMS

6шт.

04A

J901035

* BOLT

1шт.

04B

J222010

* WASHER

1шт.

5

4472673

SPRING

1шт.

6

9184556

COVER

1шт.

06A

4408661

* BRACKET

1шт.

06B

1025093

* COVER

1шт.

06C

4350623

* BOLT

1шт.

06D

4225466

* WASHER;SPRING

1шт.

06E

4225472

* WASHER;PLANE

1шт.

7

4434017

BREATHER;AIR

1шт.

07A

4437833

* BODY

1шт.

07B

4437838

* ELEMENT

1шт.

07C

4437837

* COVER

1шт.

07D

4371825

* NUT

1шт.

07E

4437836

* CAP

1шт.

8

A810060

O-RING

1шт.

9

A810160

O-RING

1шт.

10

J780616

BOLT;SOCKET

4шт.

11

D

BOLT;SEMS

6шт.

11A

J901025

* BOLT

1шт.

11B

J222010

* WASHER

1шт.

12

8053499

GAUGE;LEVEL

1шт.

12A

4100967

* BOLT

2шт.

13

449558

WASHER;SEAL

4шт.

14

4250260

SENSOR

1шт.

15

4250261

GASKET

1шт.

16

4626878

FILTER;SUCTION

1шт.

16A

4652733

* ROD

1шт.

16B

4648651

* STRAINER

1шт.

17

A885003

PLUG

4шт.

17A

4509180

* O-RING

1шт.

18

A885004

PLUG

1шт.

18A

4506418

* O-RING

1шт.

20

A852133

ADAPTER;S

3шт.

20A

4509180

* O-RING

1шт.

21

A852333

ELBOW;S

1шт.

21A

4509180

* O-RING

1шт.

26

4449478

INDICATOR

1шт.

27

4190261

CLIP

2шт.

28

4464122

HARNESS;WIRE

1шт.

31

4656523

ELEMENT;FILTER

1шт.

31A

K

* RING

1шт.

31B

K

* VALVE

1шт.

31B1

K

** O-RING

1шт.

31C

K

* O-RING

1шт.

31D

K

* ELEMENT;FILTER

1шт.

32

4643447

COVER

1шт.

34

J921845

BOLT

4шт.

35

J222018

WASHER

4шт.

36

D

BOLT;SEMS

1шт.

36A

J901020

* BOLT

1шт.

36B

J222010

* WASHER

1шт.

37

4055312

CLIP;BAND

2шт.

100

S

ELEMENT;FILTER

1шт.

101

S

ELEMENT;FILTER

1шт.

Выбрано товаров: 58