Запчасти Hitachi ZX210LCK-5G 002 ELECTRIC PARTS (2) 07 ELECTRIC SYSTEM

Схема запчастей Hitachi ZX210LCK-5G - 002 ELECTRIC PARTS (2) 07 ELECTRIC SYSTEM
FIT
1:1
100%

Артикул

Название

Примечание

Количество

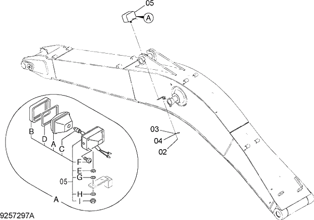
02

M430613

SCREW

1шт.

03

A590906

WASHER;SPRING

1шт.

04

4254604

HARNESS;WIRE

1шт.

05

4336570

LAMP;HEAD

I

1шт.

05

S

LAMP;HEAD

1шт.

05A

4326801

* LENS;UNIT

1шт.

05B

4326802

* FRAME

1шт.

05C

4285648

* BULB

1шт.

05D

4326803

* GASKET

1шт.

05E

4307026

* WASHER

1шт.

05F

4307027

* SCREW

4шт.

05G

A590114

* WASHER;PLANE

1шт.

05H

A590914

* WASHER;SPRING

1шт.

05I

J952014

* NUT

1шт.

Выбрано товаров: 14