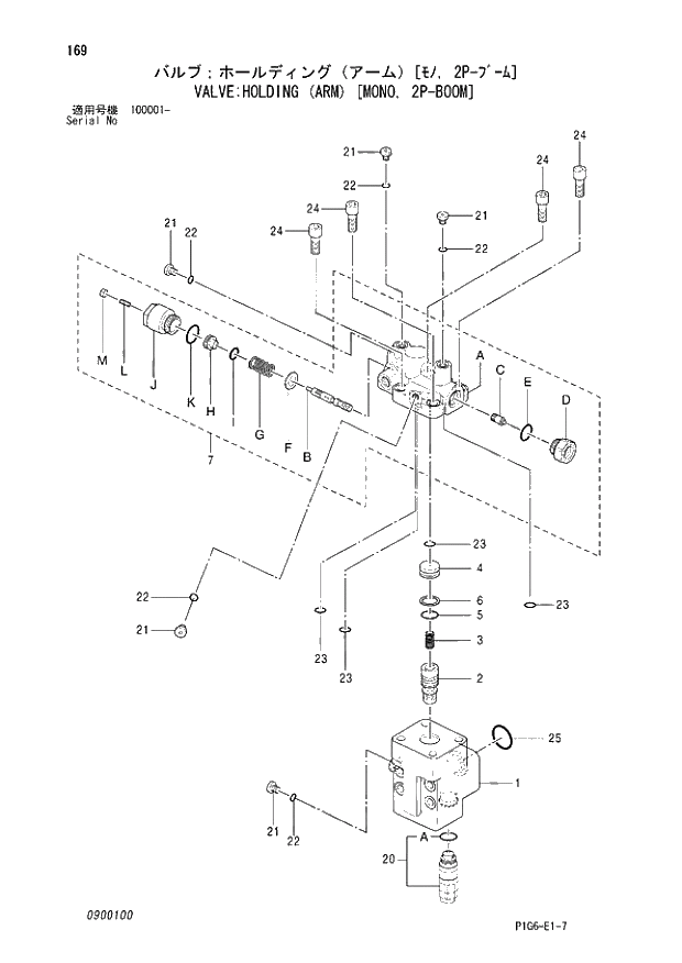
Запчасти Hitachi ZX210LCK 169 VALVE;HOLDING (ARM) (MONO BOOM). 04 CYLINDER

Схема запчастей Hitachi ZX210LCK - 169 VALVE;HOLDING (ARM) (MONO BOOM). 04 CYLINDER
FIT
1:1
100%

Артикул

Название

Примечание

Количество

4422632

VALVE;HOLDING

I

1шт.

S

VALVE;HOLDING

1шт.

1

D

* BODY

1шт.

2

D

* PORRET

1шт.

3

D

* SPRING

1шт.

4

D

* COVER

1шт.

5

D

* O-RING

1шт.

6

D

* RING;BACK?UP

1шт.

7

900101

* BODY ASS'Y

1шт.

7A

D

** BODY

1шт.

7B

D

** SPOOL

1шт.

7C

D

** PISTON

1шт.

7D

D

** CAP

1шт.

7E

985099

** O-RING

1шт.

7F

D

** WASHER

1шт.

7G

D

** SPRING

1шт.

7H

D

** HOLDER

1шт.

7I

D

** O?RING

1шт.

7J

D

** CAP

1шт.

7K

171808

** O?RING

1шт.

7L

D

** SCREW;SET

1шт.

7M

D

** NUT

1шт.

20

899402

* VALVE;RELIEF

1шт.

20A

103025

** O-RING

1шт.

21

866702

* PLUG

5шт.

22

4506408

* O-RING

5шт.

23

4506412

* O-RING

4шт.

24

168006

* BOLT;SOCKET

4шт.

25

984614

* O-RING

1шт.

Выбрано товаров: 29