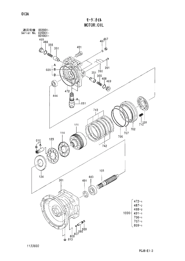
Запчасти Hitachi ZX210W-3 013 MOTOR OIL (001001 - 002001 - 020001 -). 02 MOTOR

Схема запчастей Hitachi ZX210W-3 - 013 MOTOR OIL (001001 - 002001 - 020001 -). 02 MOTOR
FIT
1:1
100%

Артикул

Название

Примечание

Количество

4648592

MOTOR;OIL

1шт.

10

788801

* PISTON ASS'Y

1шт.

010A

+++++++

** PISTON

9шт.

010B

+++++++

** SHOE

9шт.

20

788802

* CASING ASS'Y

1шт.

020A

+++++++

** CASING

1шт.

020B

+++++++

** PIN;SPRING

2шт.

51

4679374

* VALVE;RELIEF

2шт.

051A

A811030

** O-RING

2шт.

80

788803

* PLUNGER

1шт.

101

788804

* SHAFT

1шт.

111

788805

* CYLINDER

1шт.

114

788806

* SPRING;PLATE

1шт.

123

788807

* RETAINER

1шт.

124

788808

* PLATE

1шт.

131

788809

* PLATE;VALVE

1шт.

301

788810

* CASING

1шт.

351

409215

* PLUNGER

2шт.

355

409216

* SPRING

2шт.

390

+++++++

* PLATE

1шт.

391

625509

* PIN

2шт.

401

365318

* BOLT;SOCKET

4шт.

443

788811

* BRG.;ROL.

1шт.

444

677203

* BRG.;ROL.

1шт.

467

629404

* PLUG

2шт.

469

692708

* PLUG

2шт.

472

425115

* O-RING

1шт.

487

957366

* O-RING

2шт.

488

4506428

* O-RING

2шт.

491

788813

* SEAL;OIL

1шт.

702

788814

* PISTON

1шт.

706

353321

* O-RING

1шт.

707

425117

* O-RING

1шт.

712

788815

* SPRING;BRAKE

24шт.

742

788816

* PLATE;FRICTION

3шт.

743

788817

* PLATE

4шт.

807

788818

* SPRING

1шт.

808

196987

* BALL;STEEL

1шт.

809

4506407

* O-RING

1шт.

813

263019

* PLUG

2шт.

1000

814402

KIT;SEAL

1шт.

Выбрано товаров: 41