Запчасти Hitachi ZX210W-3 051 LEVER ELECTRIC (001001 - 002001 - 020001 -). 03 VALVE

Схема запчастей Hitachi ZX210W-3 - 051 LEVER ELECTRIC (001001 - 002001 - 020001 -). 03 VALVE
FIT
1:1
100%

Артикул

Название

Примечание

Количество

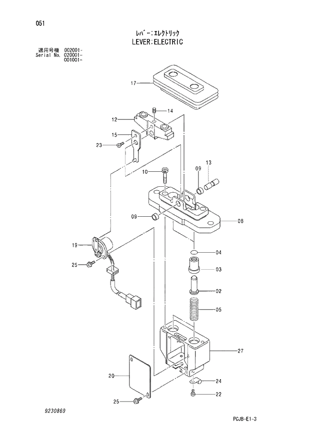
9230869

LEVER;ELECTRIC

1шт.

2

+++++++

* PUSHER

2шт.

3

+++++++

* BUSHING

2шт.

4

+++++++

* O-RING

2шт.

5

+++++++

* SPRING;COMPRES.

2шт.

8

+++++++

* HOLDER

1шт.

9

+++++++

* BUSHING

2шт.

10

+++++++

* BOLT;SOCKET

2шт.

12

+++++++

* CAM

1шт.

13

+++++++

* PIN

1шт.

14

+++++++

* SCREW;SET

1шт.

15

+++++++

* ARM

1шт.

17

2048374

* BOOT

1шт.

19

+++++++

* POTENTIOMETER

1шт.

20

+++++++

* PLATE

1шт.

22

+++++++

* SCREW

1шт.

23

+++++++

* SCREW

1шт.

24

+++++++

* CLIP

1шт.

25

+++++++

* SCREW;SEMS

4шт.

27

+++++++

* HOUSING

1шт.

Выбрано товаров: 20