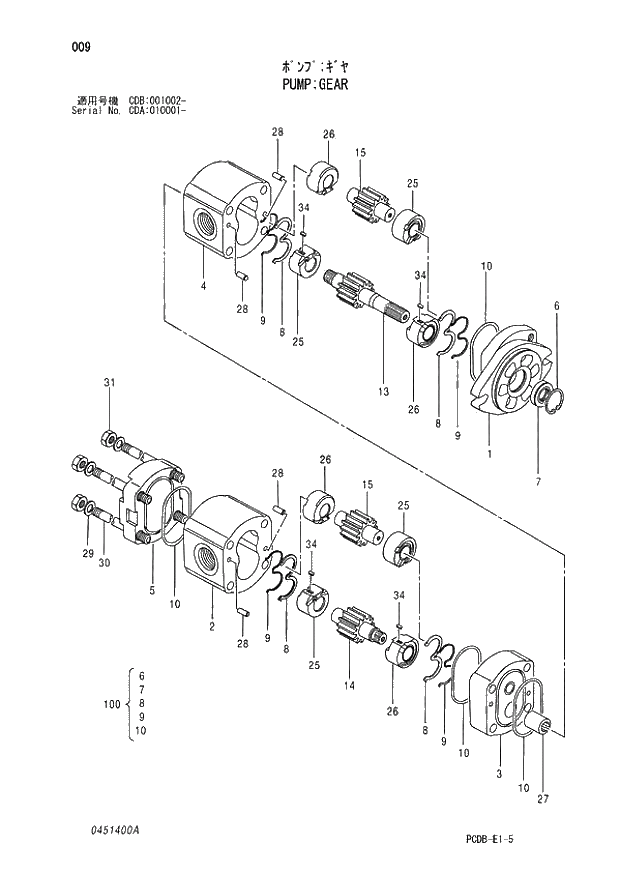
Запчасти Hitachi ZX210W 009 PUMP GEAR (CDA 010001 - CDB 001002 -). 01 PUMP

Схема запчастей Hitachi ZX210W - 009 PUMP GEAR (CDA 010001 - CDB 001002 -). 01 PUMP
FIT
1:1
100%

Артикул

Название

Примечание

Количество

4278696

PUMP;GEAR

1шт.

1

354601

* FLANGE

1шт.

2

+++++++

* HOUSING

1шт.

3

424901

* FLANGE

1шт.

4

+++++++

* HOUSING

1шт.

5

354603

* COVER

1шт.

6

354604

* RING;RETAINING

1шт.

7

408202

* SEAL;OIL

1шт.

8

408203

* SEAL

4шт.

9

354607

* RING;BACK-UP

4шт.

10

354608

* O-RING

4шт.

13

+++++++

* GEAR

1шт.

14

+++++++

* GEAR

1шт.

15

+++++++

* GEAR

1шт.

25

+++++++

* BUSHING

4шт.

26

+++++++

* BUSHING

4шт.

27

424902

* COUPLING

1шт.

28

354610

* PIN

6шт.

29

354611

* WASHER

4шт.

30

415302

* BOLT

4шт.

31

354613

* NUT

4шт.

34

354614

* KEY

4шт.

100

424903

KIT;SEAL

1шт.

Выбрано товаров: 23