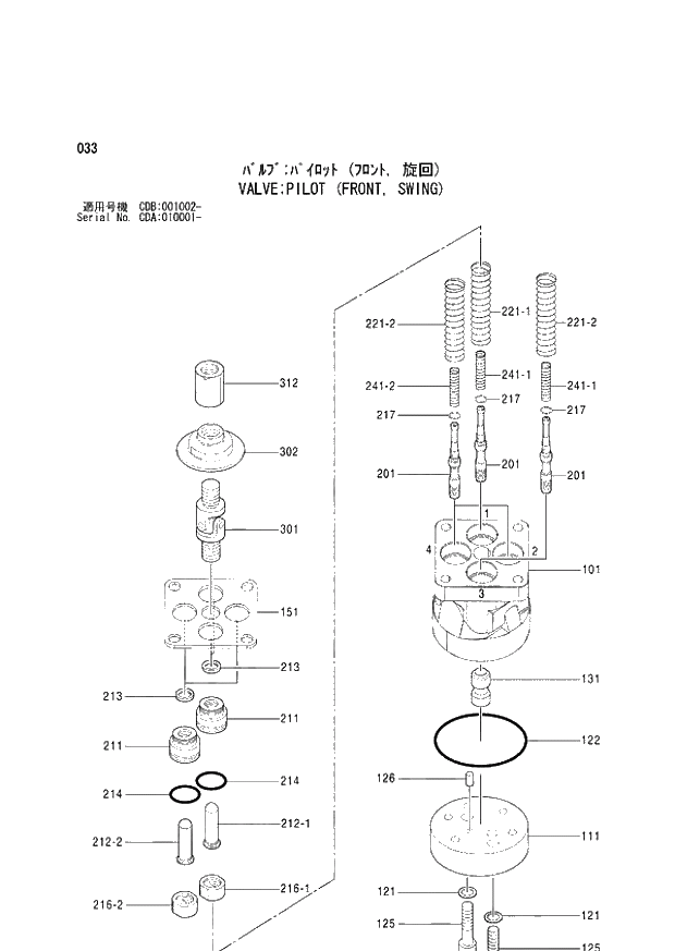
Запчасти Hitachi ZX210W 033 VALVE PILOT (FRONT, SWING) (CDA 010001 - CDB 001002 -). 03 VALVE

Схема запчастей Hitachi ZX210W - 033 VALVE PILOT (FRONT, SWING) (CDA 010001 - CDB 001002 -). 03 VALVE
FIT
1:1
100%

Артикул

Название

Примечание

Количество

4476331

VALVE;PILOT

1шт.

101

+++++++

* CASING

1шт.

111

799901

* PLATE

1шт.

121

708402

* WASHER;SEAL

2шт.

122

799902

* O-RING

1шт.

125

799903

* BOLT;SOCKET

2шт.

126

4101345

* PIN;SPRING

1шт.

131

799904

* BUSHING

1шт.

151

870001

* PLATE

1шт.

201

+++++++

* SPOOL

4шт.

211

629003

* PLUG

4шт.

212-1

799906

* ROD;PUSH (PORT 1,3)

2шт.

212-2

870002

* ROD;PUSH (PORT 2,4)

2шт.

213

628908

* SEAL

4шт.

214

4506420

* O-RING

4шт.

216-1

799907

* SEAT;SPRING

2шт.

216-2

870003

* SEAT;SPRING

2шт.

217

428907

* WASHER

4шт.

221-1

870004

* SPRING (PORT 1)

1шт.

221-2

869404

* SPRING (PORT 2,3,4)

3шт.

241-1

870005

* SPRING (PORT 1,3)

2шт.

241-2

870006

* SPRING (PORT 2,4)

2шт.

301

799910

* JOINT

1шт.

302

799911

* PLATE

1шт.

312

799912

* NUT;ADJUSTING

1шт.

Выбрано товаров: 25