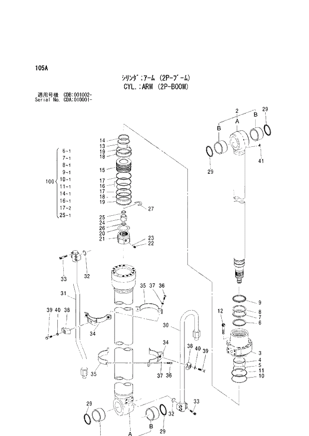
Запчасти Hitachi ZX210W 105 CYL. ARM (2P-BOOM) (CDA 010001 - CDB 001002 -). 04 CYLINDER

Схема запчастей Hitachi ZX210W - 105 CYL. ARM (2P-BOOM) (CDA 010001 - CDB 001002 -). 04 CYLINDER
FIT
1:1
100%

Артикул

Название

Примечание

Количество

4480403

CYL.;ARM

1шт.

1

876301

* TUBE;CYL. ASS'Y

1шт.

1A

876302

** TUBE;CYL.

1шт.

1B

4352399

** BUSHING;PIN

2шт.

2

789103

* ROD;PISTON ASS'Y

1шт.

2A

789104

** ROD;PISTON

1шт.

2B

4352399

** BUSHING;PIN

2шт.

3

789105

* HEAD;CYL.

1шт.

4

309204

* BUSHING

1шт.

5

236905

* RING;RETAINING

1шт.

6

789106

* RING

1шт.

7

667404

* PACKING;U-RING

1шт.

8

667405

* RING;BACK-UP

1шт.

9

667406

* RING;WIPER

1шт.

10

A811130

* O?RING

1шт.

11

789107

* RING;BACK-UP

1шт.

12

M341880

* BOLT;SOCKET

12шт.

13

409908

* BRG.;CUSHION

1шт.

14

667407

* SEAL;CUSHION

1шт.

15

789108

* PISTON

1шт.

16

309210

* RING;SEAL ASS'Y

1шт.

17

789109

* RING;BACK-UP

2шт.

18

789110

* RING

2шт.

19

309212

* RING

2шт.

20

309216

* SHIM

1шт.

21

789111

* NUT

1шт.

22

309011

* SCREW;SET

1шт.

23

111707

* BALL;STEEL

1шт.

24

409913

* BRG.;CUSHION

1шт.

25

667411

* SEAL;CUSHION

1шт.

26

409915

* STOPPER

2шт.

27

409916

* RING;RETAINING

1шт.

29

4067902

* SEAL;DUST

4шт.

30

876201

* PIPE

T 0

1шт.

@111

30

876203

* PIPE

D04/05 -

1шт.

31

876202

* PIPE

T 0

1шт.

@222

31

876204

* PIPE

D04/05 -

1шт.

32

984614

* O-RING

2шт.

33

309020

* BOLT;SOCKET

0

8шт.

33

M341236

* BOLT;SOCKET

D04/05 -

8шт.

34-40

876205

* KIT;BAND

2шт.

34

789114

** BAND

1шт.

35

789115

** BAND

1шт.

36

408815

** BOLT

2шт.

37

325913

** WASHER

2шт.

38

309219

** CLAMP;PIPE

1шт.

39

224115

** BOLT

1шт.

40

208516

** WASHER;SPRING

1шт.

41

159411

* FITTING;GREASE

1шт.

100

4448399

KIT;SEAL

1шт.

Выбрано товаров: 52