Запчасти Hitachi ZX240LCK 009 PUMP;GEAR. PUMP

Схема запчастей Hitachi ZX240LCK - 009 PUMP;GEAR. PUMP
FIT
1:1
100%

Артикул

Название

Примечание

Количество

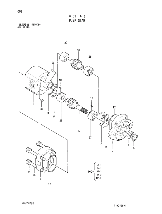
4276918

PUMP;GEAR

1шт.

1

D

* HOUSING

1шт.

2

0354601

* FLANGE

1шт.

3

K

* SEAL;OIL

1шт.

5

K

* RING;RETAINING

1шт.

6

K

* SEAL

2шт.

7

0354603

* COVER

1шт.

9

K

* RING;BACK-UP

2шт.

10

0354614

* KEY

2шт.

12

K

* O-RING

2шт.

13

D

* GEAR

1шт.

14

D

* GEAR

1шт.

15

0354611

* WASHER

4шт.

16

0408204

* BOLT

4шт.

26

D

* BUSH

2шт.

27

D

* BUSH

2шт.

28

0354610

* PIN

4шт.

100

0408207

KIT;SEAL

1шт.

Выбрано товаров: 18