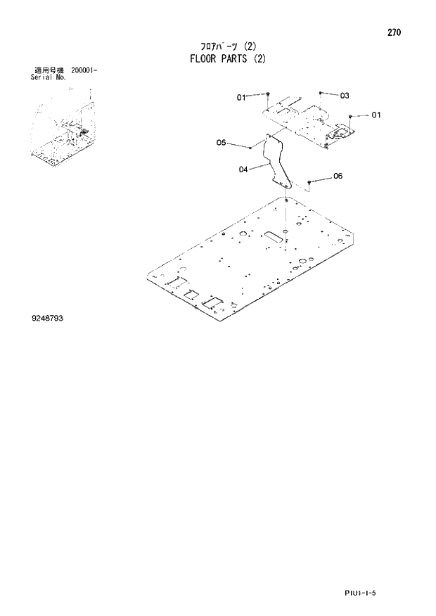
Запчасти Hitachi ZX240N-3 270 FLOOR PARTS (2). 01 UPPERSTRUCTURE

Схема запчастей Hitachi ZX240N-3 - 270 FLOOR PARTS (2). 01 UPPERSTRUCTURE
FIT
1:1
100%

Артикул

Название

Примечание

Количество

1

D

BOLT;SEMS

4шт.

01A

J901025

* BOLT

1шт.

01B

J222010

* WASHER

1шт.

3

D

BOLT;SEMS

1шт.

03A

J900820

* BOLT

1шт.

03B

A590108

* WASHER;PLANE

1шт.

4

2052023

COVER

1шт.

5

D

BOLT;SEMS

2шт.

05A

J900820

* BOLT

1шт.

05B

A590108

* WASHER;PLANE

1шт.

6

D

BOLT;SEMS

2шт.

06A

J901030

* BOLT

1шт.

06B

J222010

* WASHER

1шт.

Выбрано товаров: 13