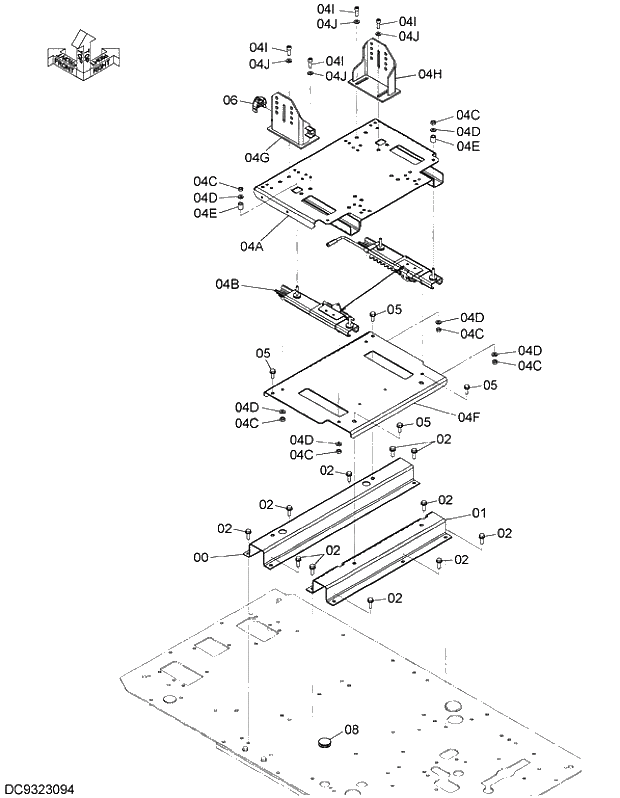
Запчасти Hitachi ZX250H-5G 030 SEAT STAND 09 FLOOR PARTS

Схема запчастей Hitachi ZX250H-5G - 030 SEAT STAND 09 FLOOR PARTS
FIT
1:1
100%

Артикул

Название

Примечание

Количество

0

7057119

STAND

1шт.

1

7057120

STAND

1шт.

2

D

BOLT;SEMS

11шт.

02A

J901035

* BOLT

1шт.

02B

J222010

* WASHER

1шт.

4

9307430

CARRIER

1шт.

04A

6027603

* CARRIER

1шт.

04B

4706817

* SLIDER

1шт.

04C

J952010

* NUT

8шт.

04D

J222010

* WASHER

8шт.

04E

4702991

* SPACER

4шт.

04F

8118287

* PLATE

1шт.

04G

7057117

* STAND

1шт.

04H

7057118

* STAND

1шт.

04I

J781030

* BOLT;SOCKET

4шт.

04J

J222010

* WASHER

4шт.

5

D

BOLT;SEMS

4шт.

05A

J901030

* BOLT

1шт.

05B

J222010

* WASHER

1шт.

6

YA00005172

COVER

1шт.

8

4288445

BUSHING;RUBBER

1шт.

Выбрано товаров: 21