Запчасти Hitachi ZX250K-5G 001 FRAME. 01 FRAME,COVER

Схема запчастей Hitachi ZX250K-5G - 001 FRAME. 01 FRAME,COVER
FIT
1:1
100%

Артикул

Название

Примечание

Количество

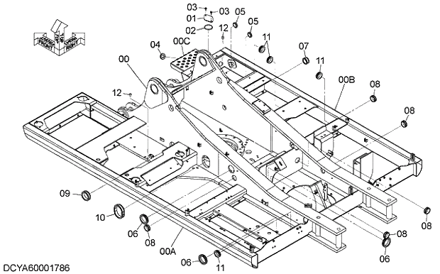
00

YA40000828

FRAME;MAIN

1шт.

00A

W

* PIPE

1шт.

00B

W

* PIPE

1шт.

00C

W

* STEP

1шт.

01

YA00010818

COVER

1шт.

02

A811090

O-RING

1шт.

03

D

BOLT;SEMS

2шт.

03A

J901030

* BOLT

1шт.

03B

J222010

* WASHER

1шт.

04

4654597

BUSHING;RUBBER

1шт.

05

4422519

BUSHING;RUBBER

2шт.

06

4201986

BUSHING;RUBBER

3шт.

07

4410187

BUSHING;RUBBER

1шт.

08

4255530

BUSHING;RUBBER

5шт.

09

4191977

BUSHING;RUBBER

1шт.

10

4272436

BUSHING;RUBBER

1шт.

11

4208279

BUSHING;RUBBER

4шт.

12

4719531

RUBBER

2шт.

Выбрано товаров: 18