Запчасти Hitachi ZX250K-5G 020 BOOM CYLINDER (R) 12 FRONT-END ATTACHMENTS

Схема запчастей Hitachi ZX250K-5G - 020 BOOM CYLINDER (R) 12 FRONT-END ATTACHMENTS
FIT
1:1
100%

Артикул

Название

Примечание

Количество

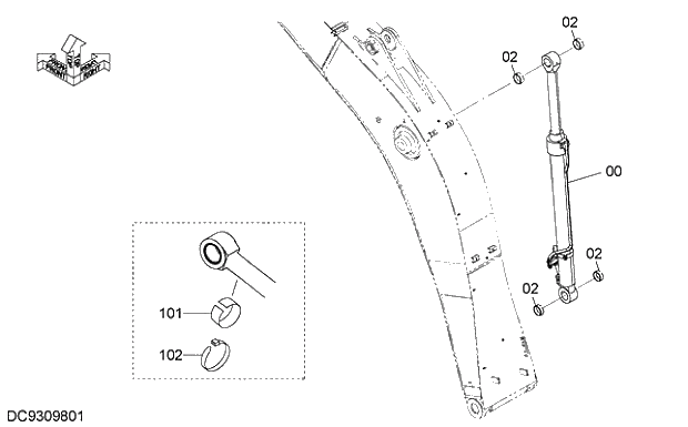
00-02

9309801

CYL.;BOOM

1шт.

00

H

* CYL.;BOOM

1шт.

02

4355875

* BUSHING

4шт.

101

4451668

FELT

1шт.

102

4167948

CLIP;BAND

1шт.

Выбрано товаров: 5