Запчасти Hitachi ZX250K-5G 004 INTERCOOLER PIPING. 02 ENGINE

Схема запчастей Hitachi ZX250K-5G - 004 INTERCOOLER PIPING. 02 ENGINE
FIT
1:1
100%

Артикул

Название

Примечание

Количество

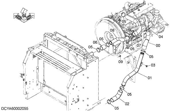
00

4725702

HOSE;AIR

1шт.

01

YA40001482

PIPE;AIR

1шт.

02

4725703

HOSE;AIR

1шт.

03

D

BOLT;SEMS

2шт.

03A

J901030

* BOLT

1шт.

03B

4486055

* WASHER

1шт.

04

4504199

CLAMP;HOSE

1шт.

05

4504491

CLAMP;HOSE

7шт.

06

4446537

HOSE;AIR

1шт.

07

YA00002998

HOSE;AIR

1шт.

08

YA40004206

PIPE;AIR

1шт.

09

D

BOLT;SEMS

2шт.

09A

J901030

* BOLT

1шт.

09B

J222010

* WASHER

1шт.

Выбрано товаров: 14