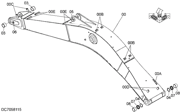
Запчасти Hitachi ZX250LCH-5G 001 BOOM 12 FRONT-END ATTACHMENTS

Схема запчастей Hitachi ZX250LCH-5G - 001 BOOM 12 FRONT-END ATTACHMENTS
FIT
1:1
100%

Артикул

Название

Примечание

Количество

7058115

BOOM

1шт.

7056117

BOOM

1шт.

YA40005302

BOOM

1шт.

00

5012825

* BOOM

1шт.

00

5013158

* BOOM

1шт.

00

YA40005301

* BOOM

1шт.

00A

W

** BLOCK

1шт.

00B

W

** SEAT;SCREW

4шт.

00C

W

** BRACKET

2шт.

00D

W

** SEAT;SCREW

2шт.

00E

W

** SEAT;SCREW

4шт.

03

4709935

* BUSHING

2шт.

04

4074008

* SEAL;DUST

2шт.

05

W

* STOPPER

1шт.

06

W

* STOPPER

1шт.

07

4724043

* BUSHING

2шт.

08

4381856

* BUSHING

2шт.

Выбрано товаров: 17