Запчасти Hitachi ZX250LCK-3G 111 CAB GUARD 01 UPPERSTRUCTURE

Схема запчастей Hitachi ZX250LCK-3G - 111 CAB GUARD 01 UPPERSTRUCTURE
FIT
1:1
100%

Артикул

Название

Примечание

Количество

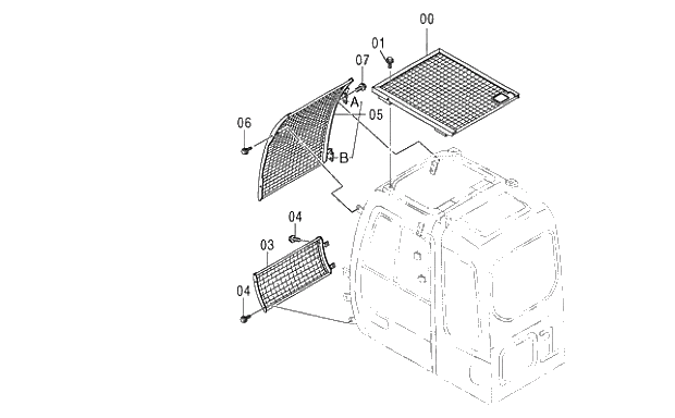
00

4452466

GUIDE

1шт.

01

D

BOLT;SEMS

4шт.

01A

J901030

* BOLT

1шт.

01B

4486055

* WASHER

1шт.

03

4452469

GUIDE

1шт.

04

D

BOLT;SEMS

4шт.

04A

J901030

* BOLT

1шт.

04B

4486055

* WASHER

1шт.

05

4452468

GUIDE

1шт.

05A

4456483

* HINGE

1шт.

05B

4410116

* HINGE

1шт.

06

D

BOLT;SEMS

2шт.

06A

J901030

* BOLT

1шт.

06B

4486055

* WASHER

1шт.

07

D

BOLT;SEMS

4шт.

07A

J901030

* BOLT

1шт.

07B

J222010

* WASHER

1шт.

Выбрано товаров: 17