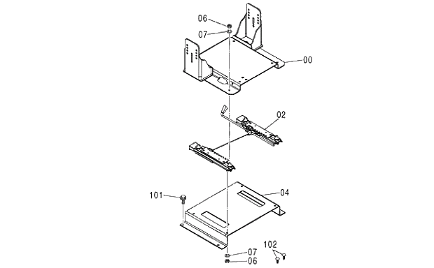
Запчасти Hitachi ZX250LCK-3G 121 SEAT STAND (SUSPENSION) 01 UPPERSTRUCTURE

Схема запчастей Hitachi ZX250LCK-3G - 121 SEAT STAND (SUSPENSION) 01 UPPERSTRUCTURE
FIT
1:1
100%

Артикул

Название

Примечание

Количество

00

6020125

CARRIER

1шт.

02

4405128

SLIDER

1шт.

04

3089486

STAND

1шт.

06

J952010

NUT

8шт.

07

A590910

WASHER;SPRING

8шт.

101

D

BOLT;SEMS

4шт.

101A

J901025

* BOLT

1шт.

101B

J222010

* WASHER

1шт.

102

4280359

CLIP

2шт.

Выбрано товаров: 9