Запчасти Hitachi ZX250LCK-3G 020 BUCKET (JIS 94)(SIDE-PIN TOOTH) 03 FRONT-END ATTACHMENTS

Схема запчастей Hitachi ZX250LCK-3G - 020 BUCKET (JIS 94)(SIDE-PIN TOOTH) 03 FRONT-END ATTACHMENTS
FIT
1:1
100%

Артикул

Название

Примечание

Количество

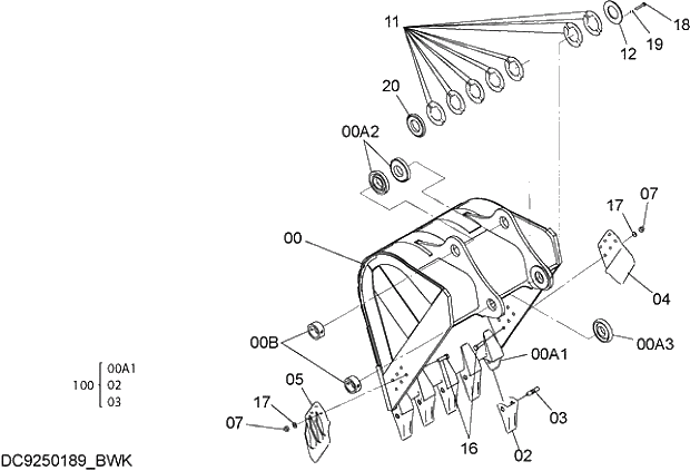
9250189

BUCKET

1шт.

00

8100486

* BUCKET

1шт.

00A

5010083

** BUCKET

1шт.

00A1

WK

*** ADAPTER;TOOTH

5шт.

00A2

W

*** BOSS

2шт.

00A3

W

*** BOSS

1шт.

00B

W

** STOPPER

2шт.

02

K

* POINT;TOOTH

5шт.

03

K

* PIN

5шт.

04

2021232

* CUTTER;SIDE

1шт.

05

2021233

* CUTTER;SIDE

1шт.

07

J951022

* NUT

12шт.

11

R

* SHIM

14шт.

12

4275783

* PLATE

1шт.

16

J932275

* BOLT

12шт.

17

A590922

* WASHER;SPRING

12шт.

18

J901485

* BOLT

3шт.

19

A590914

* WASHER;SPRING

3шт.

20

4445246

* BOSS

1шт.

100

9179373

KIT;POINT

5шт.

Выбрано товаров: 20