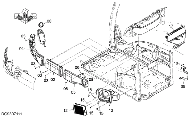
Запчасти Hitachi ZX280-5G 010 DUCT (WITH AIR-CONDITIONER) 10 AIR CONDITIONER HEATER

Схема запчастей Hitachi ZX280-5G - 010 DUCT (WITH AIR-CONDITIONER) 10 AIR CONDITIONER HEATER
FIT
1:1
100%

Артикул

Название

Примечание

Количество

00

7058382

GRILLE

1шт.

01

7058363

DUCT

1шт.

02

7058364

DUCT

1шт.

03

J680616

SCREW;SEMS

5шт.

05

7058402

DUCT

1шт.

06

8100576

BRACKET

1шт.

08

J260820

BOLT;SEMS

2шт.

08A

J900820

* BOLT

1шт.

08B

A590108

* WASHER;PLANE

1шт.

09

7058366

DUCT

1шт.

10

J680616

SCREW;SEMS

2шт.

12

4632689

FILTER

1шт.

13

7058400

DUCT

1шт.

15

J460630

SCREW;SEMS

6шт.

17

7058365

DUCT

1шт.

Выбрано товаров: 15