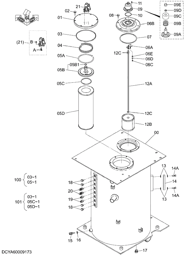
Запчасти Hitachi ZX280-5G 008 OIL TANK (WITH INDICATOR) 03 HYDRAULIC SYSTEM

Схема запчастей Hitachi ZX280-5G - 008 OIL TANK (WITH INDICATOR) 03 HYDRAULIC SYSTEM
FIT
1:1
100%

Артикул

Название

Примечание

Количество

00

YA40000840

TANK;OIL

1шт.

01

4643447

COVER

1шт.

02

J271035

BOLT;SEMS

6шт.

02A

J901035

* BOLT

1шт.

02B

J222010

* WASHER

1шт.

03

A810190

O-RING

1шт.

04

4472673

SPRING

1шт.

05

4656523

ELEMENT;FILTER

1шт.

05A

4643446

* RING

1шт.

05B

4643445

* VALVE

1шт.

05B1

4683135

** O-RING

1шт.

05C

A810095

* O-RING

1шт.

05D

4656603

* ELEMENT;FILTER

1шт.

06

9184556

COVER

1шт.

06A

4408661

* BRACKET

1шт.

06B

1025093

* COVER

1шт.

06C

4350623

* BOLT

1шт.

06D

4225466

* WASHER;SPRING

1шт.

06E

4225472

* WASHER;PLANE

1шт.

07

A810160

O-RING

1шт.

08

J271025

BOLT;SEMS

6шт.

08A

J901025

* BOLT

1шт.

08B

J222010

* WASHER

1шт.

09

4434017

BREATHER;AIR

1шт.

09A

4437833

* BODY

1шт.

09B

4437838

* ELEMENT

1шт.

09C

4437837

* COVER

1шт.

09D

4371825

* NUT

1шт.

09E

4437836

* CAP

1шт.

10

A810060

O-RING

1шт.

11

J780616

BOLT;SOCKET

4шт.

12

4626878

FILTER;SUCTION

1шт.

12A

4652733

* ROD

1шт.

12B

4648651

* STRAINER

1шт.

12C

J950010

* NUT

3шт.

13

449558

WASHER;SEAL

4шт.

14

8053499

GAUGE;LEVEL

1шт.

14A

4100967

* BOLT

2шт.

15

4697482

SENSOR

1шт.

16

4250261

GASKET

1шт.

17

A885004

PLUG

1шт.

17A

4506418

* O-RING

1шт.

18

A885003

PLUG

4шт.

18A

4509180

* O-RING

1шт.

19

A852133

ADAPTER;S

2шт.

19A

4509180

* O-RING

1шт.

20

A852333

ELBOW;S

2шт.

20A

4509180

* O-RING

1шт.

21

4449478

INDICATOR

1шт.

21A

4506405

* O-RING

2шт.

21B

J780612

* BOLT;SOCKET

4шт.

100

4656606

ELEMENT;FILTER

1шт.

101

4656609

ELEMENT;FILTER

1шт.

Выбрано товаров: 0