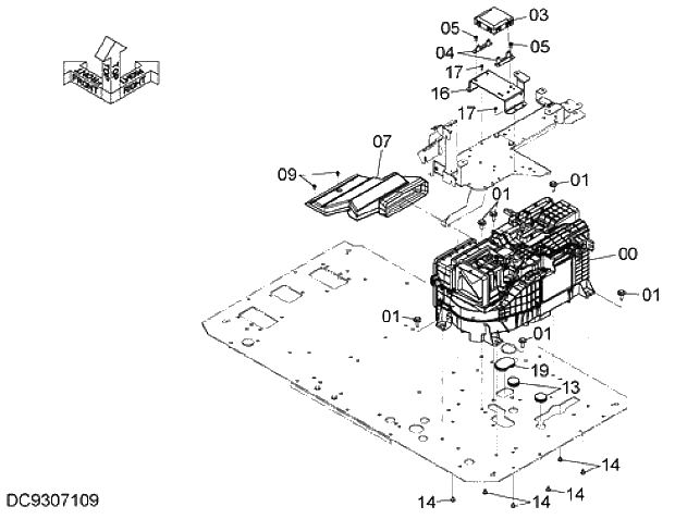
Запчасти Hitachi ZX280LC-5G 001 AIR-CONDITIONER (1) 10 AIR CONDITIONER HEATER

Схема запчастей Hitachi ZX280LC-5G - 001 AIR-CONDITIONER (1) 10 AIR CONDITIONER HEATER
FIT
1:1
100%

Артикул

Название

Примечание

Количество

00

4704922

UNIT;AIRCON

1шт.

01

J281035

BOLT;SEMS

6шт.

01A

J901035

* BOLT

1шт.

01B

4486055

* WASHER

1шт.

03

YA00007726

CONTROLLER

1шт.

04

4704925

BRACKET

2шт.

05

J460620

SCREW;SEMS

4шт.

07

7058406

DUCT

1шт.

09

J460616

SCREW;SEMS

2шт.

13

4288445

BUSHING;RUBBER

2шт.

14

4280359

CLIP

6шт.

16

8119300

BRACKET

1шт.

17

J460620

SCREW;SEMS

4шт.

19

3120378

BUSHING;RUBBER

1шт.

Выбрано товаров: 14