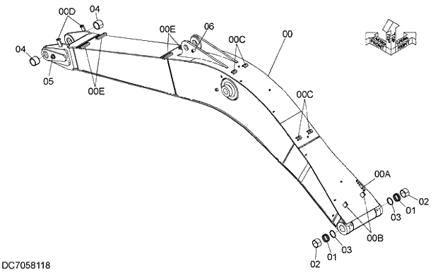
Запчасти Hitachi ZX280LC-5G 001 BOOM 12 FRONT-END ATTACHMENTS

Схема запчастей Hitachi ZX280LC-5G - 001 BOOM 12 FRONT-END ATTACHMENTS
FIT
1:1
100%

Артикул

Название

Примечание

Количество

7058118

BOOM

1шт.

7055654

BOOM

1шт.

00

5012840

* BOOM

1шт.

00

5013153

* BOOM

1шт.

00A

4624799

** BLOCK

1шт.

00B

4710820

** SEAT;SCREW

2шт.

00C

9765301

** SEAT;SCREW

4шт.

00D

9772098

** BRACKET

2шт.

00E

YA40001536

** SEAT;SCREW

4шт.

01

4724043

* BUSHING

2шт.

02

4381856

* BUSHING

2шт.

03

4074008

* SEAL;DUST

2шт.

04

4709936

* BUSHING

2шт.

05

4611731

* STOPPER

1шт.

06

4438594

* SEAT;SCREW

1шт.

Выбрано товаров: 15