Качественные детали и логистика
Оригинальные и аналоговые запчасти с доставкой по России, Казахстану и Беларуси
©2022 PartSell ООО "Система" ИНН 2463123282 ОГРН 1212400004838
Центральный офис: г. Красноярск, Академика Киренского, д.87, пом.4
Телефон: 8 (800) 777-65-74 Email: zakaz@partsell.ru
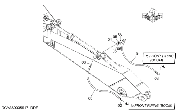
021 FRONT PIPING (ARM 3.76m)
№
Артикул
Название
Примечание
Количество
00
4634167
HOSE
1шт.
01
4634166
02
4187308
O-RING
03
4187328
2шт.
04
966993
05
4085560
FLANGE;SPLIT
06
J781240
BOLT;SOCKET
4шт.
Выбрано товаров: 0