Качественные детали и логистика
Оригинальные и аналоговые запчасти с доставкой по России, Казахстану и Беларуси
©2022 PartSell ООО "Система" ИНН 2463123282 ОГРН 1212400004838
Центральный офис: г. Красноярск, Академика Киренского, д.87, пом.4
Телефон: 8 (800) 777-65-74 Email: zakaz@partsell.ru
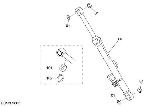
022 BOOM CYLINDER (R)
№
Артикул
Название
Примечание
Количество
00-01
9309805
CYL.;BOOM
1шт.
00
4708206
* CYL.;BOOM
01
4364501
* BUSHING
4шт.
101
4451668
FELT
102
4167948
CLIP;BAND
Выбрано товаров: 0