Запчасти Hitachi ZX280LC-5G 012 PRE CREANER 02 ENGINE

Схема запчастей Hitachi ZX280LC-5G - 012 PRE CREANER 02 ENGINE
FIT
1:1
100%

Артикул

Название

Примечание

Количество

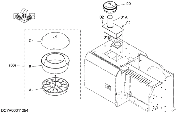
00

4090405

CLEANER;PRE

1шт.

00A

4644830

* SLEEVE-ASS'Y

1шт.

00B

4142154

* BODY

1шт.

00C

4644831

* COVER

1шт.

01

YA60011253

PIPE

1шт.

01A

YA40008698

* PIPE

1шт.

01B

4643389

* RUBBER

1шт.

02

J271030

BOLT;SEMS

6шт.

02A

J901030

* BOLT

1шт.

02B

J222010

* WASHER

1шт.

Выбрано товаров: 10