Запчасти Hitachi ZX280LC-5G 017 FUEL PIPING (DOUBLE FILTER) 02 ENGINE

Схема запчастей Hitachi ZX280LC-5G - 017 FUEL PIPING (DOUBLE FILTER) 02 ENGINE
FIT
1:1
100%

Артикул

Название

Примечание

Количество

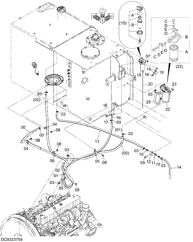
00

YA60008561

HOSE;FUEL

1шт.

00A

4401511

* HOSE;FUEL

1шт.

00B

YA00017452

* TUBE;CORRUGATED

1шт.

00C

4610630

* TUBE

1шт.

01

9323757

HOSE;FUEL

1шт.

01A

4679183

* HOSE;FUEL

1шт.

01B

4471454

* TUBE

1шт.

02

9323758

HOSE;FUEL

1шт.

02A

4679489

* HOSE;FUEL

1шт.

02B

4332697

* TUBE

1шт.

02C

4653840

* TUBE

1шт.

03

4514700

CLIP;HOSE

11шт.

04

4190263

CLIP

2шт.

05

4192034

CLIP

2шт.

06

4190282

CLIP

1шт.

07

J260825

BOLT;SEMS

2шт.

07A

J900825

* BOLT

1шт.

07B

A590108

* WASHER;PLANE

1шт.

08

J271020

BOLT;SEMS

5шт.

08A

J901020

* BOLT

1шт.

08B

J222010

* WASHER

1шт.

09

J271045

BOLT;SEMS

1шт.

09A

J901045

* BOLT

1шт.

09B

J222010

* WASHER

1шт.

10

4449362

ADAPTER

2шт.

11

4478378

VALVE;BALL

1шт.

12

4725406

ADAPTER

1шт.

13

4404652

HOSE;FUEL

1шт.

14

4407161

HOSE;FUEL

1шт.

15

4452161

SEPARATOR

1шт.

15A

4621868

* O-RING

1шт.

15B

4621773

* CASE

1шт.

16

4452162

PIPE;FUEL

2шт.

17

4452163

BOLT;EYE

1шт.

18

4452164

FILTER;GAUZE

1шт.

19

4452165

PACKING

4шт.

20

4445516

HOSE;VINYL

1шт.

22

4335136

FILTER;FUEL

1шт.

22A

4326739

* FILTER;FUEL

1шт.

22B

4326807

* HEAD

1шт.

22C

4326740

* BOLT

2шт.

22D

4326741

* GASKET

4шт.

22E

4326742

* PIPE;FUEL

2шт.

23

J271030

BOLT;SEMS

2шт.

23A

J901030

* BOLT

1шт.

23B

J222010

* WASHER

1шт.

25

YA00010557

HOSE;FUEL

1шт.

Выбрано товаров: 47