Запчасти Hitachi ZX280LC-5G 008 PILOT PIPING (6) 06 HYDRAULIC PIPING (PILOT)

Схема запчастей Hitachi ZX280LC-5G - 008 PILOT PIPING (6) 06 HYDRAULIC PIPING (PILOT)
FIT
1:1
100%

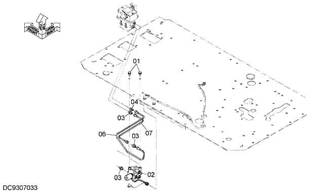
Артикул

Название

Примечание

Количество

01

J271025

BOLT;SEMS

2шт.

01A

J901025

* BOLT

1шт.

01B

J222010

* WASHER

1шт.

02

4609630

VALVE;LOCK

1шт.

03

4255305

FITTING;PIPE

3шт.

03A

4509180

* O-RING

1шт.

04

4255304

FITTING;PIPE

1шт.

04A

957366

* O-RING

1шт.

06

4705203

PIPE

1шт.

07

4705202

PIPE

1шт.

Выбрано товаров: 10