Запчасти Hitachi ZX280LC 065 VALVE;SOLENOID. VALVE

Схема запчастей Hitachi ZX280LC - 065 VALVE;SOLENOID. VALVE
FIT
1:1
100%

Артикул

Название

Примечание

Количество

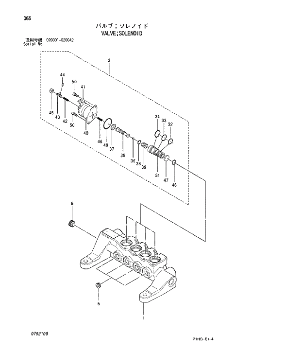
4400477

VALVE;SOLENOID

1шт.

1

D

* HOUSING

1шт.

3

4455991

* VALVE

4шт.

3-31

D

** SLEEVE

1шт.

3-32

0408409

** O-RING

1шт.

3-33

0408410

** O-RING

1шт.

3-34

0408411

** O-RING

1шт.

3-35

D

** SPOOL

1шт.

3-36

D

** ORIFICE

1шт.

3-37

D

** DIAPHRAGM

1шт.

3-38

D

** WASHER

1шт.

3-39

D

** SPRING

1шт.

3-40

D

** SOLENOID ASS'Y

1шт.

3-41

D

** SOCKET

1шт.

3-42

D

** SPRING

1шт.

3-43

D

** SCREW

1шт.

3-44

D

** O-RING

1шт.

3-45

D

** NUT

1шт.

3-46

D

** SPRING

1шт.

3-47

D

** PLATE

1шт.

3-48

4455990

** WASHER

1шт.

3-49

4455989

** O-RING

1шт.

3-50

0387804

** BOLT;SOCKET

2шт.

5

4455986

* FILTER

4шт.

6

4455987

* FILTER

1шт.

Выбрано товаров: 25