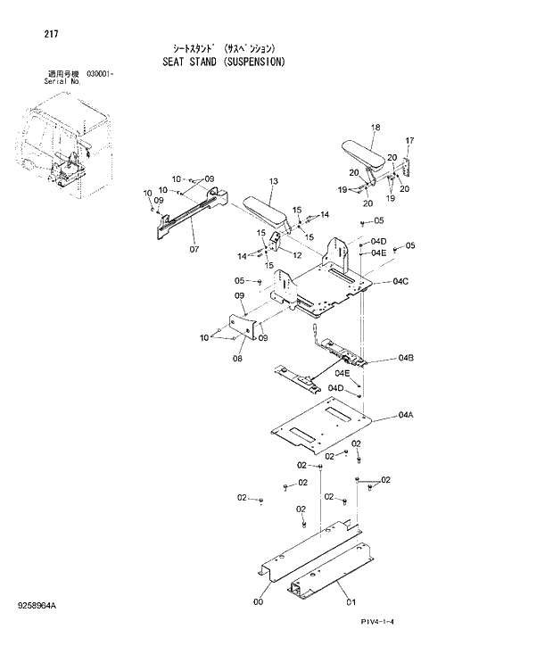
Запчасти Hitachi ZX280LCN-3 217 SEAT STAND. 01 UPPERSTRUCTURE

Схема запчастей Hitachi ZX280LCN-3 - 217 SEAT STAND. 01 UPPERSTRUCTURE
FIT
1:1
100%

Артикул

Название

Примечание

Количество

00

8098869

STAND

1шт.

01

8098870

STAND

1шт.

02

D

BOLT;SEMS

11шт.

02A

J901035

* BOLT

1шт.

02B

J222010

* WASHER

1шт.

04

9258980

CARRIER ASS'Y

1шт.

04A

8101964

* PLATE

1шт.

04B

4631364

* SLIDER

1шт.

04C

6024037

* CARRIER

1шт.

04D

J952010

* NUT

8шт.

04E

J222010

* WASHER

8шт.

05

D

BOLT;SEMS

4шт.

05A

J901030

* BOLT

1шт.

05B

J222010

* WASHER

1шт.

07

4644044

COVER

1шт.

08

4644052

COVER

1шт.

09

J460620

SCREW;SEMS

5шт.

10

4644220

CAP

5шт.

12

7050007

BRACKET

1шт.

13

4644169

REST;ARM

1шт.

14

J780825

BOLT;SOCKET

4шт.

15

J222008

WASHER

4шт.

17

4648791

BRACKET

1шт.

18

4644172

REST;ARM

1шт.

19

J780825

BOLT;SOCKET

4шт.

20

J222008

WASHER

4шт.

Выбрано товаров: 26