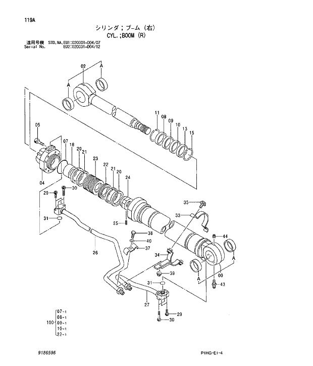
Запчасти Hitachi ZX280LCN 119 CYL.BOOM (R). CYLINDER

Схема запчастей Hitachi ZX280LCN - 119 CYL.BOOM (R). CYLINDER
FIT
1:1
100%

Артикул

Название

Примечание

Количество

9186596

CYL.;BOOM

I

1шт.

S

CYL.;BOOM

1шт.

00

7037673

* TUBE;CYL.

I

1шт.

00

S

* TUBE;CYL.

1шт.

00A

4364501

** BUSHING

2шт.

02

7037671

* ROD;PISTON

1шт.

02A

4364501

** BUSHING

2шт.

04

1027956

* HEAD;CYL.

1шт.

05

M342480

* BOLT;SOCKET

8шт.

07

K

* O-RING

1шт.

08

K

* SEAL;DUST

1шт.

09

K

* SEAL

1шт.

10

K

* RING

1шт.

11

4369508

* RING;RETAINING

1шт.

13

4272962

* BUSHING

1шт.

15

4264982

* RING;RETAINING

1шт.

18

3089936

* RING;CUSHION

1шт.

20

4185246

* RING;TEFLON

2шт.

21

4252191

* RING;WEAR

2шт.

22

K

* RING;SEAL

1шт.

23

3052363

* PISTON

1шт.

24

3063059

* NUT

1шт.

25

4201805

* SCREW;SET

1шт.

26

8083849

* PIPE

1шт.

27

8049356

* PIPE

1шт.

29

M341245

* BOLT;SOCKET

4шт.

30

M341260

* BOLT;SOCKET

4шт.

31

A811035

* O-RING

2шт.

33

3088623

* CLAMP

1шт.

34

8079314

* CLAMP

1шт.

35

J011035

* BOLT;SEMS

0

2шт.

35

D

* BOLT;SEMS

T D03/05 -

2шт.

@111

37

4229234

* CLAMP;PIPE

1шт.

38

J901265

* BOLT

1шт.

39

J950012

* NUT

1шт.

40

A590912

* WASHER;SPRING

1шт.

43

J75481

* FITTING;GREASE

1шт.

44

94-2021

* PLUG

1шт.

100

4485615

KIT;SEAL

1шт.

Выбрано товаров: 40