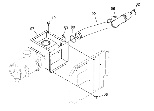
Запчасти Hitachi ZX330-3G 019 AIR CLEANER SUPPORT. 01 UPPERSTRUCTURE

Схема запчастей Hitachi ZX330-3G - 019 AIR CLEANER SUPPORT. 01 UPPERSTRUCTURE
FIT
1:1
100%

Артикул

Название

Примечание

Количество

0

4439120

DUCT;AIR

1шт.

2

4507397

CLAMP;HOSE

I -D12/2

1шт.

2

4285233

CLAMP;HOSE

D12/03-

1шт.

3

4245194

CLAMP;HOSE

1шт.

6

J271030

BOLT;SEMS

6шт.

06A

J901030

* BOLT

1шт.

06B

J222010

* WASHER

1шт.

7

7039334

COVER

1шт.

9

J271025

BOLT;SEMS

2шт.

09A

J901025

* BOLT

1шт.

09B

J222010

* WASHER

1шт.

10

J281030

BOLT;SEMS

5шт.

10A

J901030

* BOLT

1шт.

10B

4486055

* WASHER

1шт.

Выбрано товаров: 14