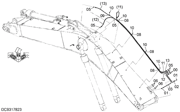
Запчасти Hitachi ZX330LC-5G 004 LUBRICATE PIPING 12 FRONT-END ATTACHMENTS

Схема запчастей Hitachi ZX330LC-5G - 004 LUBRICATE PIPING 12 FRONT-END ATTACHMENTS
FIT
1:1
100%

Артикул

Название

Примечание

Количество

0

4360981

FITTING;PIPE

2шт.

1

4345297

FITTING;PIPE

2шт.

2

4713341

PIPE

1шт.

3

4713340

PIPE

1шт.

5

4154651

ADAPTER;S

6шт.

6

J75482

FITTING;GREASE

5шт.

8

4252877

CLIP

4шт.

9

4190261

CLIP

1шт.

10

J271016

BOLT;SEMS

5шт.

10A

J901016

* BOLT

1шт.

10B

J222010

* WASHER

1шт.

11

4718270

HOSE;PLASTIC

1шт.

12

4718271

HOSE;PLASTIC

1шт.

13

4718272

HOSE;PLASTIC

1шт.

Выбрано товаров: 14