Запчасти Hitachi ZX330LC 127 ELECTRIC PARTS (A). 01 UPPERSTRUCTURE

Схема запчастей Hitachi ZX330LC - 127 ELECTRIC PARTS (A). 01 UPPERSTRUCTURE
FIT
1:1
100%

Артикул

Название

Примечание

Количество

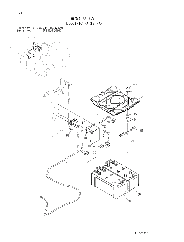
00

4237922

BATTERY

2шт.

01

4386066

COVER;BATTERY

1шт.

03

4430289

BOLT;HOOK

2шт.

04

J950010

NUT

4шт.

05

A590110

WASHER;PLANE

4шт.

06

M570010

NUT;WING

2шт.

07

4405803

SUPPORT

2шт.

08

4255762

RELAY;BATTERY

1шт.

09

J020830

BOLT;SEMS

- D03/04

2шт.

09

J260830

BOLT;SEMS

T D03/05 -

2шт.

@111

10

3087816

COVER

1шт.

11

J900816

BOLT

3шт.

12

A590108

WASHER;PLANE

3шт.

15

4452159

RELAY

1шт.

16

J020620

BOLT;SEMS

- D03/04

2шт.

16

J260620

BOLT;SEMS

T D03/05 -

2шт.

@222

19

4457896

HARNESS;WIRE

1шт.

21

4263509

HARNESS;WIRE

1шт.

26

4390098

HARNESS;WIRE

1шт.

27

4350736

HARNESS;WIRE

1шт.

28

J021025

BOLT;SEMS

- D03/04

1шт.

28

J271025

BOLT;SEMS

T D03/05 -

1шт.

@333

Выбрано товаров: 25