Запчасти Hitachi ZX350H-3 055 VALVE. 05 VALVE

Схема запчастей Hitachi ZX350H-3 - 055 VALVE. 05 VALVE
FIT
1:1
100%

Артикул

Название

Примечание

Количество

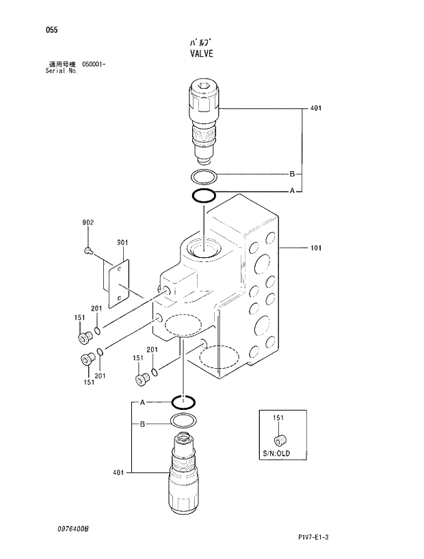
4644566

VALVE

1шт.

101

0976401

* CASING

T 0

1шт.

@111

@222

101

0976402

* CASING

D08/01 -

1шт.

151

0263019

* PLUG

T 0

3шт.

@333

@444

151

4656242

* PLUG

D08/01 -

3шт.

201

0232127

* O-RING

D08/01 -

3шт.

401

4655266

* VALVE

2шт.

401A

4506416

** O-RING

2шт.

401B

4085607

** RING;BACK-UP

2шт.

901

D

* PLATE

1шт.

902

0625509

* PIN

2шт.

Выбрано товаров: 15