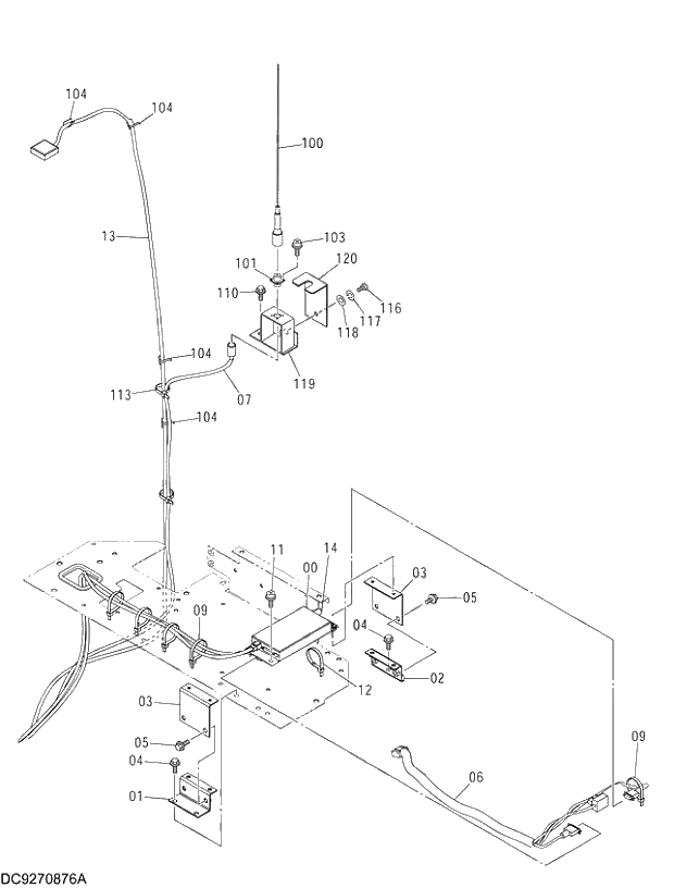
Запчасти Hitachi ZX350H-3G 082 SATELLITE DATA COMMUNICATOR PARTS 01 UPPERSTRUCTURE

Схема запчастей Hitachi ZX350H-3G - 082 SATELLITE DATA COMMUNICATOR PARTS 01 UPPERSTRUCTURE
FIT
1:1
100%

Артикул

Название

Примечание

Количество

0

4635318

CONTROLLER

1шт.

1

9756146

BRACKET

1шт.

2

9756147

BRACKET

1шт.

3

9765131

BRACKET

2шт.

4

J260820

BOLT;SEMS

4шт.

04A

J900820

* BOLT

1шт.

04B

A590108

* WASHER;PLANE

1шт.

5

J260820

BOLT;SEMS

4шт.

05A

J900820

* BOLT

1шт.

05B

A590108

* WASHER;PLANE

1шт.

6

2052944

HARNESS;WIRE

1шт.

7

4441571

CABLE

1шт.

9

4055312

CLIP;BAND

5шт.

11

J460616

SCREW;SEMS

4шт.

12

4121859

CLIP;BAND

1шт.

13

4724573

ANTENNA

1шт.

14

4691209

HARNESS;WIRE

1шт.

100

4441588

ANTENNA

1шт.

101

4441572

CONNECTOR

1шт.

103

J460308

SCREW;SEMS

4шт.

104

4050373

CLIP

4шт.

110

J271030

BOLT;SEMS

1шт.

110A

J901030

* BOLT

1шт.

110B

J222010

* WASHER

1шт.

113

4055311

CLIP;BAND

1шт.

116

J780620

BOLT;SOCKET

1шт.

117

A590906

WASHER;SPRING

1шт.

118

J222006

WASHER

1шт.

119

9757024

BRACKET

1шт.

120

4458684

BRACKET

1шт.

Выбрано товаров: 30