Запчасти Hitachi ZX350LCH 027 VALVE;BRAKE. 02 MOTOR

Схема запчастей Hitachi ZX350LCH - 027 VALVE;BRAKE. 02 MOTOR
FIT
1:1
100%

Артикул

Название

Примечание

Количество

9263854

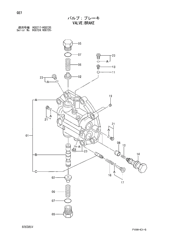
VALVE;BRAKE

I

1шт.

(9264410)

* VALVE;BRAKE

1шт.

01

8104695

* CASING ASS'Y

1шт.

01A

+++++++

** CASING;REAR

1шт.

01B

+++++++

** SPOOL

1шт.

01C

+++++++

** SPOOL

1шт.

02

4461905

* STOPPER

2шт.

05

4276526

* PLUG

2шт.

06

4485473

* SPRING;COMPRES.

2шт.

07

4506429

* O-RING

2шт.

08

4470238

* POPPET

2шт.

10

4396771

* SPRING;COMPRES.

2шт.

11

4509493

* BALL

1шт.

13

4311662

* SEAT

1шт.

14

9213855

* VALVE;RELIEF

2шт.

16

4297257

* SPRING;COMPRES.

1шт.

17

9167977

* PLUG

1шт.

17A

957366

** O-RING

1шт.

19

4050968

* PLUG

2шт.

21

9089484

* PLUG

2шт.

21A

4506408

** O-RING

1шт.

23

9089485

* PLUG

3шт.

23A

957366

** O-RING

1шт.

Выбрано товаров: 23