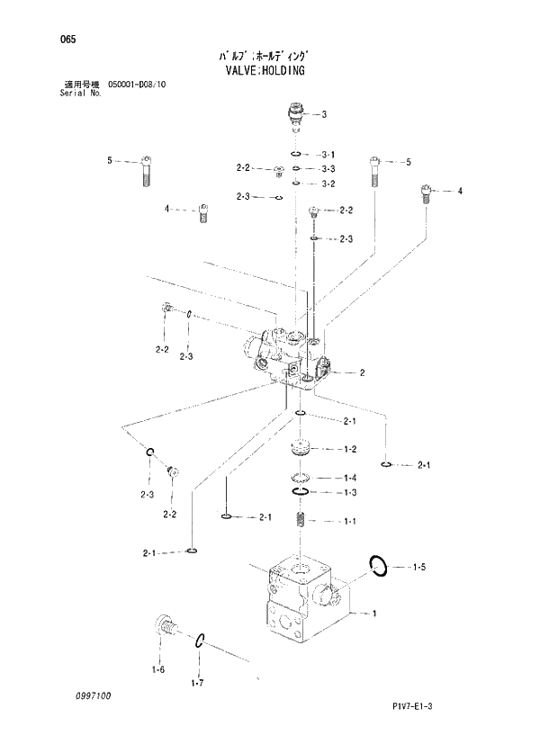
Запчасти Hitachi ZX350LCK-3 065 VALVE;HOLDING. 08 CYLINDER

Схема запчастей Hitachi ZX350LCK-3 - 065 VALVE;HOLDING. 08 CYLINDER
FIT
1:1
100%

Артикул

Название

Примечание

Количество

4645207

VALVE;HOLDING

1шт.

1

0997101

* BODY

1шт.

1-1

0997102

** SPRING

1шт.

1-2

0973503

** COVER

1шт.

1-3

4506430

** O-RING

1шт.

1-4

4019414

** RING;BACK-UP

1шт.

1-5

984614

** O-RING

1шт.

1-6

0935701

** PLUG

1шт.

1-7

4506415

** O-RING

1шт.

2

0997103

* BODY

1шт.

2-1

4506412

** O-RING

4шт.

2-2

0866702

** PLUG

4шт.

2-3

4506408

** O-RING

4шт.

3

0973605

* VALVE;RELIEF

1шт.

3-1

0168308

** O-RING

1шт.

3-2

0103025

** O-RING

1шт.

3-3

0866705

** RING;BACK-UP

1шт.

4

M341030

* BOLT;SOCKET

2шт.

5

0151312

* BOLT;SOCKET

2шт.

Выбрано товаров: 19