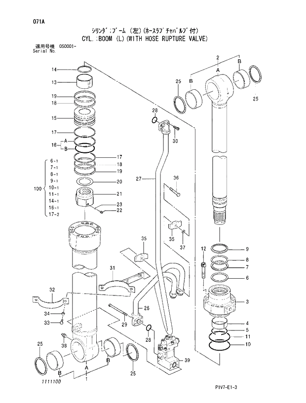
Запчасти Hitachi ZX350LCK-3 071 CYL.;BOOM (L)(WITH HOSE RUPTURE VALVE). 08 CYLINDER

Схема запчастей Hitachi ZX350LCK-3 - 071 CYL.;BOOM (L)(WITH HOSE RUPTURE VALVE). 08 CYLINDER
FIT
1:1
100%

Артикул

Название

Примечание

Количество

4638831

CYL.;BOOM (L)

1шт.

1

0975001

* TUBE;CYL. ASS'Y

1шт.

1A

D

** TUBE;CYL.

1шт.

1B

4381855

** PIN;BUSHING

2шт.

2

0975002

* ROD;PISTON ASS'Y

1шт.

2A

D

** ROD;PISTON

1шт.

2B

4381855

** PIN;BUSHING

2шт.

3

0975005

* HEAD;CYL.

1шт.

4

0836104

* BUSHING

1шт.

5

0208504

* RING;RETAINING

1шт.

6

K

* RING;BUFFER

1шт.

7

K

* U-RING

1шт.

8

K

* RING;BACK-UP

1шт.

9

K

* RING;WIPER

1шт.

10

K

* O-RING

1шт.

11

K

* RING;BACK-UP

1шт.

12

0166012

* BOLT;SOCKET

12шт.

13

0836108

* BRG.;CUSHION

1шт.

14

K

* SEAL;CUSHION

1шт.

15

0975006

* PISTON

1шт.

16

K

* RING;SEAL ASS'Y

1шт.

16A

D

** RING;SEAL

1шт.

16B

D

** O-RING

1шт.

17

K

* RING;BACK-UP

2шт.

18

0962008

* RING

2шт.

19

0373413

* RING

2шт.

20

0373414

* SHIM

1шт.

21

0867308

* NUT

1шт.

22

0352715

* SCREW;SET

1шт.

23

0104404

* BALL

1шт.

25

4337631

* RING;WIPER

4шт.

26

4644693

* PIPE

1шт.

27

0975102

* PIPE

1шт.

28

984614

* O-RING

2шт.

29

0815902

* BOLT;SOCKET

4шт.

30

M341236

* BOLT;SOCKET

4шт.

31-37

1111101

* BAND ASS'Y

1шт.

31

1111102

** BAND

1шт.

32

0975011

** BAND

1шт.

33

J901035

** BOLT

2шт.

34

A590910

** WASHER

2шт.

35

0236915

** HOLDER

2шт.

36

0236916

** BOLT

1шт.

37

A590914

** WASHER;SPRING

1шт.

38

J75481

* FITTING;GREASE

Y 0

1шт.

38

1203312

* FITTING;GREASE

D08/11 -

1шт.

39

4645207

* VALVE;HOLDING

I 0

1шт.

39

4706906

* VALVE;HOLDING

D08/11 -

1шт.

100

4649049

SEAL;KIT

1шт.

Выбрано товаров: 49