Запчасти Hitachi ZX350LCK-3G 117 FLOOR PARTS 01 UPPERSTRUCTURE

Схема запчастей Hitachi ZX350LCK-3G - 117 FLOOR PARTS 01 UPPERSTRUCTURE
FIT
1:1
100%

Артикул

Название

Примечание

Количество

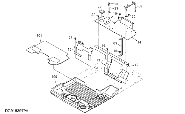
8

7039389

BRACKET

1шт.

9

8076619

SUPPORT

1шт.

10

J271025

BOLT;SEMS

2шт.

10A

J901025

* BOLT

1шт.

10B

J222010

* WASHER

1шт.

12

6019838

BRACKET

1шт.

14

6019252

BRACKET

1шт.

15

5007342

BRACKET

1шт.

20

J260820

BOLT;SEMS

2шт.

20A

J900820

* BOLT

1шт.

20B

A590108

* WASHER;PLANE

1шт.

22

4445220

BUSHING;RUBBER

1шт.

26

J271025

BOLT;SEMS

5шт.

26A

J901025

* BOLT

1шт.

26B

J222010

* WASHER;PLANE

1шт.

27

J271025

BOLT;SEMS

2шт.

27A

J901025

* BOLT

1шт.

27B

J222010

* WASHER;PLANE

1шт.

29

9757192

BRACKET

1шт.

30

J460616

SCREW;SEMS

2шт.

100

3929

MAT;FLOOR

1шт.

101

4448601

FLOOR-CARPET

1шт.

Выбрано товаров: 22