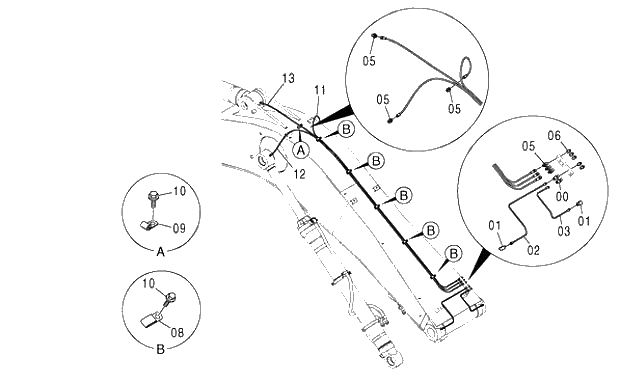
Запчасти Hitachi ZX350LCK-3G 013 LUBRICATE PIPING 03 FRONT-END ATTACHMENTS

Схема запчастей Hitachi ZX350LCK-3G - 013 LUBRICATE PIPING 03 FRONT-END ATTACHMENTS
FIT
1:1
100%

Артикул

Название

Примечание

Количество

0

4360981

FITTING;PIPE

2шт.

1

4345297

FITTING;PIPE

2шт.

2

4387001

PIPE

1шт.

3

4387002

PIPE

1шт.

5

4154651

ADAPTER;S

6шт.

6

J75482

FITTING;GREASE

5шт.

8

4252877

CLIP

5шт.

9

4190261

CLIP

1шт.

10

J271016

BOLT;SEMS

6шт.

10A

J901016

* BOLT

1шт.

10B

J222010

* WASHER

1шт.

11

4289772

HOSE;NYLON

1шт.

12

4257291

HOSE;NYLON

1шт.

13

4316009

HOSE;NYLON

1шт.

Выбрано товаров: 14