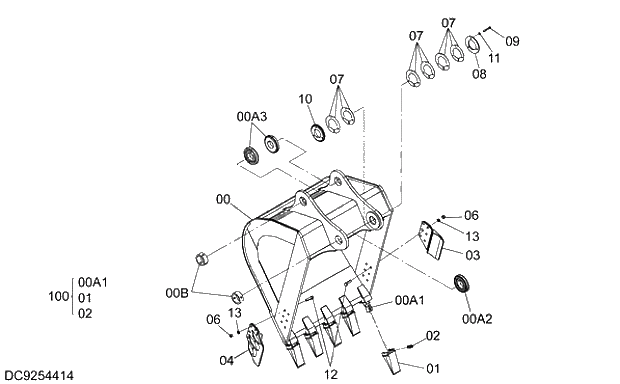
Запчасти Hitachi ZX350LCK-3G 019 BUCKET 1.4m3 (JIS 94)(SUPER V TOOTH) 03 FRONT-END ATTACHMENTS

Схема запчастей Hitachi ZX350LCK-3G - 019 BUCKET 1.4m3 (JIS 94)(SUPER V TOOTH) 03 FRONT-END ATTACHMENTS
FIT
1:1
100%

Артикул

Название

Примечание

Количество

9254414

BUCKET ASS'Y

1шт.

0

8102016

* BUCKET

1шт.

00A

YA40000173

** BUCKET

1шт.

00A1

4400249

*** ADAPTER;TOOTH

5шт.

00A2

4445243

*** BOSS

1шт.

00A3

4225809

*** BOSS

2шт.

00B

4143531

** STOPPER

2шт.

1

4400250

* POINT;TOOTH

5шт.

2

4400252

* PIN

5шт.

3

2021232

* CUTTER;SIDE

1шт.

4

2021233

* CUTTER;SIDE

1шт.

6

J951022

* NUT

12шт.

7

4277930

* SHIM

12шт.

8

4277929

* PLATE

1шт.

9

J901495

* BOLT

3шт.

10

4445247

* BOSS

1шт.

11

A590914

* WASHER;SPRING

3шт.

12

J932275

* BOLT

12шт.

13

A590922

* WASHER;SPRING

12шт.

100

9174125

KIT;POINT

5шт.

Выбрано товаров: 20