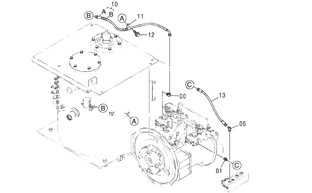
Запчасти Hitachi ZX350LCK-3G 057 PILOT PIPING (3). 01 UPPERSTRUCTURE

Схема запчастей Hitachi ZX350LCK-3G - 057 PILOT PIPING (3). 01 UPPERSTRUCTURE
FIT
1:1
100%

Артикул

Название

Примечание

Количество

0

A852322

ELBOW;S

1шт.

00A

957366

* O-RING

1шт.

1

A852122

ADAPTER;S

1шт.

01A

957366

* O-RING

1шт.

5

A852222

ELBOW;S

1шт.

05A

957366

* O-RING

1шт.

10

9200071

HOSE ASS'Y

1шт.

10A

4442442

* HOSE

1шт.

10B

4327315

* PROTECTOR

1шт.

11

4190275

CLIP

1шт.

12

J271020

BOLT;SEMS

1шт.

12A

J901020

* BOLT

1шт.

12B

J222010

* WASHER

1шт.

13

4442331

HOSE

1шт.

Выбрано товаров: 14