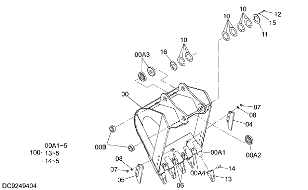
Запчасти Hitachi ZX350LCK-5G 024 ROCK BUCKET 1.38m3 (JIS 94)(SIDE-PIN TOOTH) 12 FRONT-END ATTACHMENTS

Схема запчастей Hitachi ZX350LCK-5G - 024 ROCK BUCKET 1.38m3 (JIS 94)(SIDE-PIN TOOTH) 12 FRONT-END ATTACHMENTS
FIT
1:1
100%

Артикул

Название

Примечание

Количество

9249404

BUCKET ASS'Y

1шт.

0

8100317

* BUCKET

1шт.

00A

YA40000257

** BUCKET

1шт.

00A1

4377131

*** ADAPTER;TOOTH

5шт.

00A2

4445243

*** BOSS

1шт.

00A3

4225809

*** BOSS

2шт.

00A4

4378369

*** SHROUD

4шт.

00B

4143531

** STOPPER

2шт.

4

4435856

* SHROUD

1шт.

5

4435857

* SHROUD

1шт.

6

J932780

* BOLT

6шт.

7

J951027

* NUT

6шт.

8

4085857

* WASHER

6шт.

10

4277930

* SHIM

12шт.

11

4277929

* PLATE

1шт.

12

J901495

* BOLT

3шт.

13

4380343

* POINT;TOOTH

5шт.

14

4380344

* PIN

5шт.

15

A590914

* WASHER;SPRING

3шт.

16

4445247

* BOSS

1шт.

100

9174130

KIT;POINT

5шт.

Выбрано товаров: 21