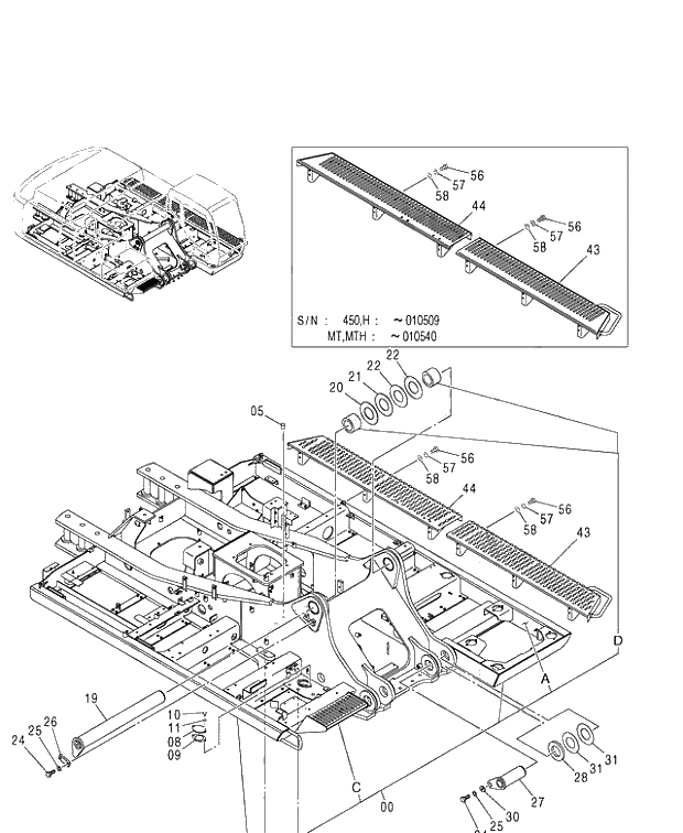
Запчасти Hitachi ZX450LC 111 FRAME 1 RIDE-ON TYPE COUNTERWEIGHT 450,H,MT,MTH (010001-). 01 UPPERSTRUCTURE

Схема запчастей Hitachi ZX450LC - 111 FRAME 1 RIDE-ON TYPE COUNTERWEIGHT 450,H,MT,MTH (010001-). 01 UPPERSTRUCTURE
FIT
1:1
100%

Артикул

Название

Примечание

Количество

0

5007455

FRAME;MAIN

1шт.

00A

4435797

* PIPE (L)

1шт.

00B

4435798

* PIPE (R)

1шт.

00C

8060108

* STEP

I -10227

1шт.

00C

8088464

* STEP

010228-

1шт.

00D

4216361

* BUSHING

2шт.

2

4223579

BOLT

32шт.

3

4223578

BOLT

T 450,H:-011213

4шт.

@111

MT,MTH:-011243

3

J932716

BOLT

450,H:011214-

4шт.

@222

MT,MTH:011244-

5

425175

CORK

7шт.

6

4626326

SPACER

450,H:011214-

4шт.

@333

MT,MTH:011244-

8

4070948

COVER

1шт.

9

4070949

PACKING

I 450,H:-010331

1шт.

@444

MT,MTH:-010353

9

4602624

PACKING

450,H:010332-

1шт.

@555

MT,MTH:010354-

10

J901018

BOLT

2шт.

11

A590110

WASHER;PLANE

2шт.

19

8038945

PIN

1шт.

20

4207845

SHIM 3.2mm

1шт.

21

4173485

SHIM 2.3mm

1шт.

22

4191280

SHIM 1.0mm

2шт.

24

J912045

BOLT

4шт.

25

A590920

WASHER;SPRING

4шт.

26

4335757

PLATE

1шт.

27

8039138

PIN

2шт.

28

4207890

SPACER

2шт.

30

4040826

WASHER

2шт.

31

4143607

SHIM 1.2mm

4шт.

Выбрано товаров: 32