Запчасти Hitachi ZX450LC 132 LUBRICATOR PARTS (450,H,MT,MTH 010001-460 050001-). 01 UPPERSTRUCTURE

Схема запчастей Hitachi ZX450LC - 132 LUBRICATOR PARTS (450,H,MT,MTH 010001-460 050001-). 01 UPPERSTRUCTURE
FIT
1:1
100%

Артикул

Название

Примечание

Количество

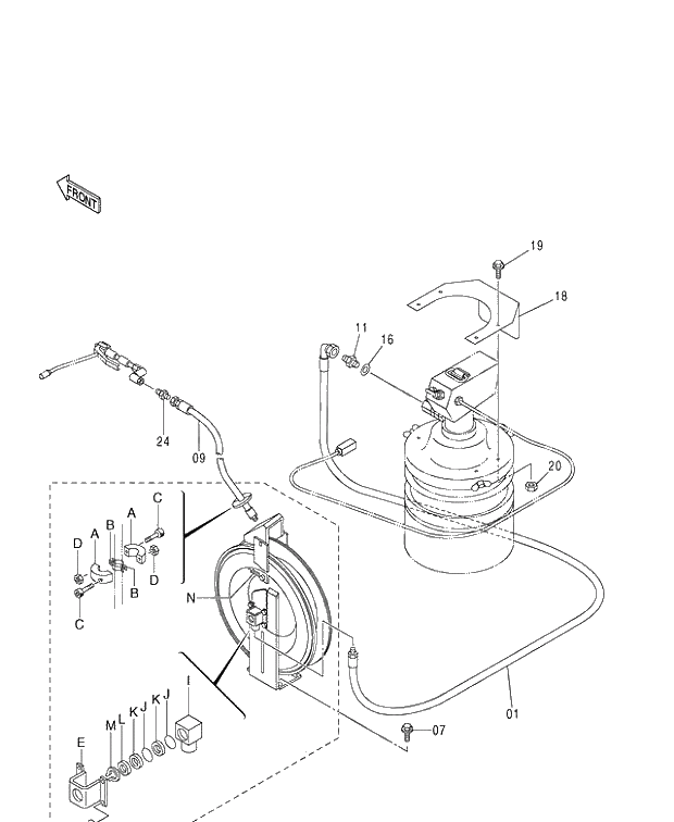
1

4466611

HOSE

1шт.

6

4264921

REEL;HOSE

1шт.

06A

4174317

* STOPPER

2шт.

06B

4174318

* BAND

2шт.

06C

M340840

* BOLT;SOCKET

2шт.

06D

M500807

* NUT

2шт.

06E

4188272

* STOPPER

2шт.

06F

J900616

* BOLT

8шт.

06G

A590106

* WASHER;PLANE

8шт.

06H

A590906

* WASHER;SPRING

8шт.

06I

4188273

* JOINT;SWIVEL

1шт.

06J

4028265

* O-RING

2шт.

06K

4028266

* RING;BACK-UP

2шт.

06L

4188274

* WASHER

1шт.

06M

4188275

* RING

1шт.

06N

4188276

* SPRING

1шт.

7

J271030

BOLT;SEMS

T

4шт.

@111

9

4228701

HOSE

1шт.

11

4042011

ADAPTER;S

1шт.

16

A890018

PACKING

1шт.

18

4299820

BRACKET

1шт.

19

J260616

BOLT;SEMS

T

4шт.

@222

20

M500605

NUT

4шт.

24

4151182

ADAPTER

1шт.

Выбрано товаров: 26