Запчасти Hitachi ZX470-5G 001 SUCTION PIPING 05 HYDRAULIC PIPING

Схема запчастей Hitachi ZX470-5G - 001 SUCTION PIPING 05 HYDRAULIC PIPING
FIT
1:1
100%

Артикул

Название

Примечание

Количество

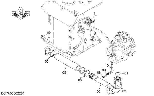
00

YA40002191

PIPE

1шт.

01

4153544

O-RING

1шт.

02

M341640

BOLT;SOCKET

4шт.

03

A885002

PLUG

1шт.

03A

957366

* O-RING

1шт.

05

4637328

HOSE;RUBBER

1шт.

06

4282488

CLAMP;HOSE

4шт.

08

A853366

ELBOW;S

1шт.

08A

4506424

* O-RING

1шт.

09

4187308

O-RING

1шт.

10

4314388

HOSE

1шт.

Выбрано товаров: 11