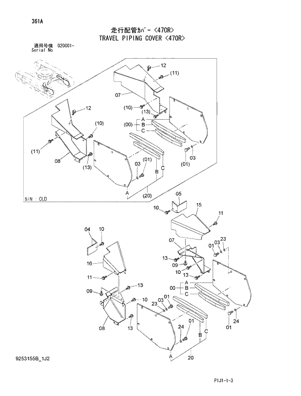
Запчасти Hitachi ZX470LCH-3 361_TRAVEL PIPING COVER 470R (020001 -). 02 UNDERCARRIAGE

Схема запчастей Hitachi ZX470LCH-3 - 361_TRAVEL PIPING COVER 470R (020001 -). 02 UNDERCARRIAGE
FIT
1:1
100%

Артикул

Название

Примечание

Количество

0

8096091

COVER

1шт.

00A

3088005

* COVER

1шт.

00B

4616491

* BAR

1шт.

00C

4616492

* BAR

1шт.

1

4257968

BOLT;SHOE

12шт.

3

J222016

WASHER

0

12шт.

3

J222016

WASHER

D08/02 -

2шт.

4

8061383

COVER

1шт.

5

8061384

COVER

1шт.

7

6023953

COVER

T 0

1шт.

@111

@222

@333

7

7054993

COVER

D07/10 -

1шт.

8

6023952

COVER

T 0

1шт.

@444

@555

@666

8

7055009

COVER

D07/10 -

1шт.

9

J281240

BOLT;SEMS

D07/10 -

4шт.

09A

J901240

* BOLT

D07/10 -

1шт.

09B

4249324

* WASHER

D07/10 -

1шт.

10

J281235

BOLT;SEMS

6шт.

10A

J901235

* BOLT

1шт.

10B

4249324

* WASHER

1шт.

11

J281250

BOLT;SEMS

2шт.

11A

J901250

* BOLT

1шт.

11B

4249324

* WASHER

1шт.

12

J271225

BOLT;SEMS

0

2шт.

12A

J901225

* BOLT

0

1шт.

12B

J222012

* WASHER

0

1шт.

13

J281230

BOLT;SEMS

6шт.

13A

J901230

* BOLT

1шт.

13B

4249324

* WASHER

1шт.

15

6026432

COVER

D07/10 -

1шт.

16

6026445

COVER

D07/10 -

1шт.

20

8096092

COVER

1шт.

20A

3088005

* COVER

1шт.

20B

4616491

* BAR

1шт.

20C

4616492

* BAR

1шт.

23

J222016

WASHER

D06/10 -

2шт.

24

A590916

WASHER;SPRING

D08/02 -

10шт.

Выбрано товаров: 42