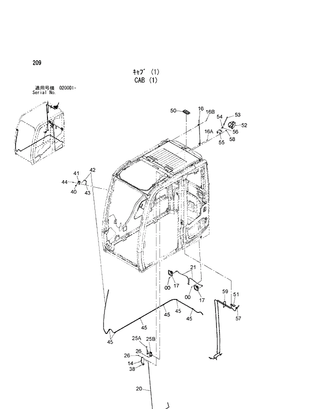
Запчасти Hitachi ZX470LCR-3 209_CAB (1) (020001 -). 01 UPPERSTRUCTURE

Схема запчастей Hitachi ZX470LCR-3 - 209_CAB (1) (020001 -). 01 UPPERSTRUCTURE
FIT
1:1
100%

Артикул

Название

Примечание

Количество

0

4456427

SCREW;SEMS

8шт.

14

4187082

LAMP;ROOM

1шт.

14A

4187083

* BULB

1шт.

16

4658092

ANTENNA

1шт.

16A

4210412

* SCREW

1шт.

16B

4210413

* SCREW

1шт.

17

4361302

SPEAKER

2шт.

20

4658093

HARNESS;WIRE

1шт.

21

4369547

HARNESS

2шт.

25

+++++++

HAMMER ASSY

1шт.

25A

4362700

* HAMMER

1шт.

25B

2038764

* BRACKET

1шт.

26

4456428

SCREW;SEMS

4шт.

38

4662756

HANGER

1шт.

40

4464394

NOZZLE

1шт.

41

4662759

ADAPTER

1шт.

42

4369549

HOSE

1шт.

43

4367481

VALVE

1шт.

44

4658095

BOLT;SEMS

1шт.

45

4662758

CLIP

6шт.

50

4662370

COVER

1шт.

51

4662375

ANTENNA

1шт.

52

4662371

COVER

1шт.

53

4662372

ANTENNA

1шт.

54

4662377

SCREW;SEMS

4шт.

55

4662376

BRACKET

1шт.

56

4662373

CONNECTOR

1шт.

57

4662374

CABLE

1шт.

58

4464320

BOLT;SEMS

1шт.

59

4662378

CLIP;BAND

1шт.

Выбрано товаров: 30