Запчасти Hitachi ZX470R-3 006 CYL.;BUCKET (BACKHOE) (020001-). 05 CYLINDER

Схема запчастей Hitachi ZX470R-3 - 006 CYL.;BUCKET (BACKHOE) (020001-). 05 CYLINDER
FIT
1:1
100%

Артикул

Название

Примечание

Количество

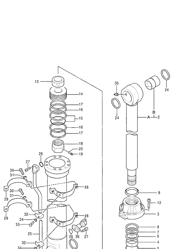
4637754

CYL.;BUCKET

1шт.

01.01.24

4653045

* CYL. (PIPELESS)

1шт.

1

704401

** TUBE;CYL.ASS'Y

1шт.

1A

+++++++

*** TUBE;CYL.

1шт.

1B

352905

*** BUSHING;PIN

1шт.

2

972401

** ROD;PISTON ASS'Y

1шт.

2A

+++++++

*** ROD;PISTON

1шт.

2B

420102

*** BUSHING;PIN

1шт.

3

972402

** HEAD;CYL.

1шт.

4

450506

** BUSHING

1шт.

5

133103

** RING;RETAINING

1шт.

6

450518

** RING

1шт.

7

972403

** PACKING;U-RING

1шт.

8

262403

** RING;BACK-UP

1шт.

9

450519

** RING;WIPER

1шт.

10

A811160

** O-RING

1шт.

11

4170546

** RING;BACK-UP

1шт.

12

191412

** BOLT;SOCKET

8шт.

13

704404

** BRG.;CUSHION

1шт.

14

704405

** PISTON

1шт.

15

4170547

** RING;SEAL ASS'Y

1шт.

16

972106

** RING;SLIDE

2шт.

17

259307

** RING;SLIDE

2шт.

18

972404

** NUT

1шт.

19

353012

** SCREW;SET

1шт.

20

353011

** BALL;STEEL

1шт.

22

420403

** RING;WIPER

2шт.

24

4337631

** RING;WIPER

2шт.

25

420404

* PIPE

1шт.

26

984614

* O-RING

2шт.

27

M341240

* BOLT;SOCKET

8шт.

28

875612

* BAND

2шт.

29

352721

* BAND

2шт.

30

J901035

* BOLT

4шт.

31

A590910

* WASHER

4шт.

32

309219

* CLAMP;PIPE

2шт.

33

J901265

* BOLT

2шт.

34

A590912

* WASHER;SPRING

2шт.

35

J75481

* FITTING;GREASE

1шт.

36

420405

* JOINT

1шт.

100

4653042

KIT;SEAL

1шт.

Выбрано товаров: 41