Запчасти Hitachi ZX470R-5G 024 TRAVEL MOTION ALARM (CAB) 09 ELECTRIC SYSTEM

Схема запчастей Hitachi ZX470R-5G - 024 TRAVEL MOTION ALARM (CAB) 09 ELECTRIC SYSTEM
FIT
1:1
100%

Артикул

Название

Примечание

Количество

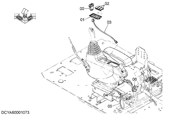
00

4658818

SWITCH

1шт.

01

2058776

CASE

1шт.

02

3121182

CAP

3шт.

03

4730755

HARNESS;WIRE

1шт.

04

4323613

CLIP;BAND

2шт.

05

YA00004570

HARNESS;WIRE

1шт.

06

4055312

CLIP;BAND

1шт.

Выбрано товаров: 7